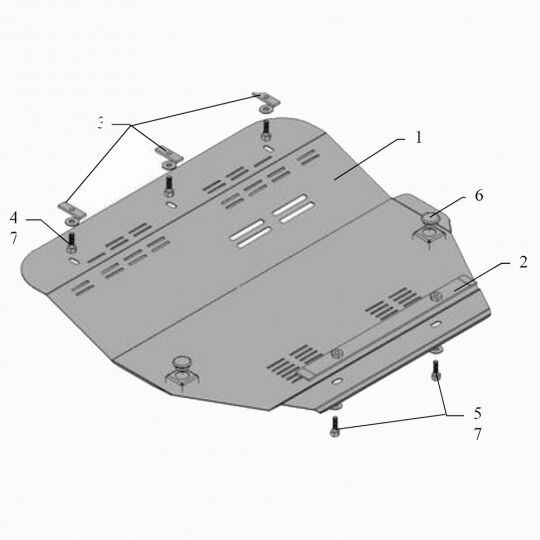
Kolchuga Защита двигателя, КПП и радиатора на Fiat Ulysse II '02-11
Kolchuga Защита двигателя, КПП и радиатора на Fiat Ulysse II '02-11 изготавливается по современным технологиям из материалов высочайшего качества.
!!!Скачать инструкцию по установке!!!
Защита закрывает:
- Картер двигателя;
- КПП;
- Радиатор.
- Объем двигателя: V-1,8D; 2.0Hdi 109FAD;
- Тип коробки передач и др: Все типы.
Покрытие:
- Standart: Порошково-полимерная краска;
- ZiPoFlex: Оцинковка + порошково-полимерная краска + лак.
Преимущества:
TakE-OFF® - Система беспрепятственного аварийного смещения двигателя при ДТП. Ничто не помешает компонентам автомобиля выполнять свои функции по поглощению энергии столкновения. Защита высвобождается из своих креплений при деформации силовых элементов кузова.
OFF-Energy® - В основе системы - энергопоглощающая балка, способная укротить любую мощь. Конструкция со специально предусмотренной способностью к деформации всегда готова принять на себя энергию удара в случае наезда на препятствие или при ДТП. В некоторых моделях толщина балки достигает 8 мм
BloW-OFF® - Чтобы исключить перегрев двигателя и КПП, в передней части защиты расположены блоки специальных прорезей, обеспечивающие необходимый воздушный поток для отвода тепла. При движении автомобиля воздух проходит сквозь прорези, поглощает тепло и эффективно отводит его.
BOunCE® - Специальные элементы глубокой формовки обеспечивают дополнительную жёсткость в местах возможного повреждения защиты при наезде на препятствие.
Quick WittED® - Позволяет производить регламентные работы, включая замену масла и фильтров, не снимая полностью защиту, а только ту ее часть, в зоне которой планируется проведение работ.



